Industrieelektronik Produkte
Ruppersthal 158 - 3701 Gross Weikersdorf
Tel.: +43(2955)71736 - Fax: +43(2955)71738
office@wh-elektronik.at
Startseite       Unsere Firma       Produkte       Fragen & Antworten       Kontakt       Datenschutz       Impressum/AGB

Startseite | Produkte | DMS - Kraftaufnehmer - Dehnungsaufnehmer
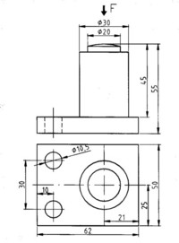
Stauchzylinder DKA-30-20-1.00

 

Stauchzylinder DKA-30-20-1.00



Der Kraftaufnehmer DKA-30 dient zur Aufnahme von axialen Druckkräften.

Der Einsatz erfolgt zum Erfassen von statischen und dynamischen Kräften an Federn, Plattformen, Pressen usw.
Die robuste Bauform ermöglicht einen universellen Einsatz in der Industrie unter rauhen Bedingungen.

Der DKA-30 arbeitet nach dem Stauchzylinderprinzip. Die Krafteinleitung erfolgt allein über die Fußplatte und die gewölbte Stirnseite.

Der Applikationsraum für den Dehnungsmessstreifen (DMS) ist mit einer hochelastischen Masse vor chemischen und mechanischen Belastungen geschützt.

Eine DMS-Vollbrücke erfasst die Verformung des Kraftaufnehmers, die durch das Zusammendrücken entsteht.
Die Brückenbalance wird im unbelasteten Zustand auf ca. +/-0,01mV/V abgeglichen.

Der DKA-30 ist für den Anschluss an einen Verstärker vorgesehen.

Mechanische Ausführung:
Gewicht ca. 750g, Abmessung Bodenplatte 62x50mm, Durchmesser 30mm, Material Stahl, Schutzart IP67,

DKA-30-20 Nennkraft 20kN (andere auf Anfrage),
max. Gebrauchskraft 150% von der Nennkraft,
Bruchkraft 500% von der Nennkraft,

Elektrische Ausführung:
Messprinzip Vollbrücke, Eingangswiderstand 350 Ohm, Ausgangswiderstand 350 Ohm, Empfindlichkeit ca. 1,2mV/V (genaue Angabe auf Typenschild),
Betriebsspannung max. 12V AC/DC, Stromaufnahme max. 35mA, Kalibriertoleranz kleiner 0,5% vom Endwert*, Nichtlinearität kleiner 0,5% vom Endwert*, Hysterese kleiner 0,2% vom Endwert*,
Temperaturfehler Nullpunkt kleiner/gleich 0,04% vom Endwert/K, Temperaturfehler Empfindlichkeit kleiner/gleich 0,04% vom Sollwert/K, Isolationswiderstand größer 5.000 MOhm,
Betriebsbedingungen -25°C bis +80°C**

Anschluss Kabel LiYCY 4x0,14mm², Kabellänge 1,5m,

* Diese Angaben sind abhängig von Passung, Widerstandsmoment und Einspannlänge. Sie werden bei günstigen Werten erreicht.
** Bei fest verlegtem Kabel,


Email Anfrage zu diesem Produkt:

Ihr Name:
Firmenname:
Email-Adresse:
Ihre Nachricht:
Sicherheitscode:
Sicherheitscode eingeben:
Datenschutz:
 
 

< Zurück zur Übersicht (Produkte - DMS - Kraftaufnehmer - Dehnungsaufnehmer)

© 2026 by melwindesign.com